Stay Inspired

EAA is your guide to getting the most out of the world of flight and giving your passion room to grow.

Aviation Words: Lav and Blue Ice

  • Lav and Blue Ice
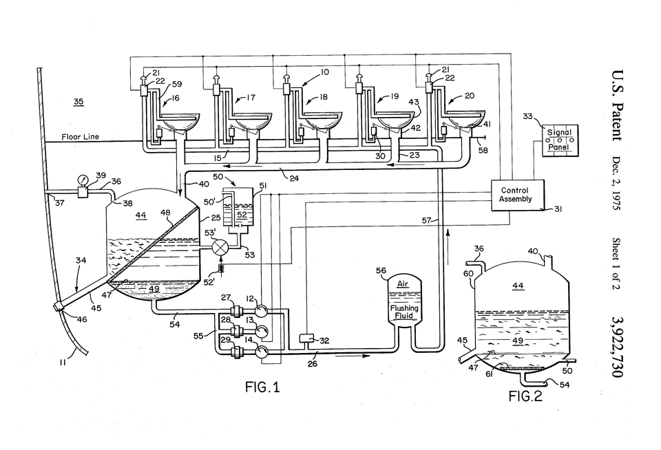
    If you’re THAT interested, here’s the design.

August 2016 - Growing up in England, the lav was also known as the loo. In aviation parlance, the toilet, washroom, or bathroom is known as the lavatory—a word with origins in the Latin languages. A lavatorium is a room to wash in, and aircraft lavatories generally have a toilet and a wash basin.

The latest aircraft to offer a lavatory is the TBM 900/930 single-engine turboprop, which will offer the option of a “transformer lavatory” in its Elite Privacy configuration. This is apparently a useable seat that can convert into a privately screened lavatory with mirror at the push of a button.

Now to the more entertaining stuff. You may have heard of the stories about blue ice falling from the skies and claims that aircraft toilet flushes are being rained down on our heads. Well apparently that’s baloney! There are no mechanisms for toilets to be emptied while in flight. The FAA investigated these claims and apparently most of the reports of blue ice coincide with migrations of geese. Anything they eat that was blue will stay blue throughout their digestive system and come out the same colour. Maybe I’m not the only one to have found evidence of this on my car.

To provide a better user experience, EAA uses cookies. To review EAA's data privacy policy or adjust your privacy settings please visit: Data and Privacy Policy.
loading

Loading...